设备页面说明
参照版本: Web 3.7.2-240607002
简介
设备页面基本功能: 查看设备、修改设备、删除设备、创建模板、查看设备下的数据。
设备页面位置:
配置 - 通道信息 - [非网口通道名称] - [设备名称]。
配置 - 通道信息 - [网口通道名称] - [链接名称] - [设备名称]。

如果所在通道未选择应用层协议,则无法打开设备页面。
设备页面会根据所在通道的应用层协议的不同而不同,这里以 Modbus 协议为例。
修改设备
页面有两种标签: 基本信息 和 其他。
基本信息: 该标签用来配置设备的基本信息,基本信息分两种: 公有项 和 协议特有项。
公有项: 无论选择的是什么协议,都会有 名称 和 描述 的配置。
名称: 允许使用 中文、英文字母、数字 和 下划线,不能与当前通道或链接下的其他设备名称相同。
描述: 可以根据需要填写。
协议特有项: 不同协议会有不同的基本配置项,根据实际情况进行配置即可,详细配置项说明可查看文档 应用层协议。
其他: 根据应用层协议的不同,会有不同标签,这些标签全部用于配置数据点。

创建数据点
点击数据点表格下面的 【 + 】 按钮可以创建数据点。

在弹出的输入框中,输入需要创建多少数据点,点击 【添加】 按钮,即可创建数据点。

如果应用层协议为转发类型的协议,创建方式稍有不同,需要在弹出树状图中选择需要转发的数据点,然后点击 【添加】 按钮,就可以为选中的数据点创建转发。


修改数据点
数据点表格第一项是 采集点名,由 通道名称、链接名称、设备名称、点名称 构成,分为3个大部分: 基本信息、数据存储、报警配置,这三个部分可以通过点击灰色部分 收缩 和 展开。
另外并不是所有协议都有 数据存储 和 报警配置 这两部分。
基本信息: 配置数据点的 名称、描述 和 其他配置项。
名称: 允许使用 中文、英文字母、数字 和 下划线,不能与设备下的其他数据点名称相同。
描述: 可以根据需要填写。
其他: 其他的配置项根据应用层协议的不同,会有不同的配置项。根据实际情况进行配置,详细配置项说明可查看文档 应用层协议。
数据存储: 配置数据点的存储逻辑,这里也会跟据应用层协议的不同而配置项不同,详细说明查看协议文档 应用层协议。
但是多数协议的配置项都是相同的,默认会有6个配置项: 开/关、数据类型、变化存储、变化幅度、循环存储、循环周期(ms)。

开/关: 表示是否进行存储,未勾选的情况下,不会显示其他选项。
数据类型: 表示存储到数据库的类型,有三种:整形、浮点型、字符串。
整型: 可存储整数,存储占用比 浮点型 小。
浮点型: 可存储带小数的数字。
字符型: 可存储文字,但是查询速度相较其他类型要慢,无法直接通过SQL语句对数据进行排序、获取最大值最小值 等操作。
变化存储: 表示是否在数据发生变化时进行存储。
变化幅度: 勾选了变化存储时,这个配置才会生效,用于指定数据变化超过百分之多少时会存储此值,单位:%,比如当设置成5时,表示该值变化幅度超过5%时存储该值。
循环存储: 表示是否使用周期性的存储,每隔一段时间进行一次存储。
循环周期(ms): 勾选了循环存储时,这个配置才会生效,用于指定循环存储的存储周期,单位:毫秒,每天0点开始计时,比如周期设置为60000,1分钟存储一次,系统就会在每天 00:00:00、00:01:00、00:02:00、00:03:00、00:04:00 …… 对数据进行存储。
报警配置: 点击 【 + 】 按钮,可以为数据点添加一个报警,一个数据点可以有多个报警,点击报警后面的 【x】 按钮,可以删除一个报警。
报警配置项有8个: 名称、描述、报警方式、类型、阈值、时段(起始)、时段(终止)、持续时间。

名称: 报警名称。
描述: 报警详细信息。
报警方式: 勾选使用哪种方式进行报警。需要现在 维护 - 报警方式 页面下进行配置才会有选项,详细配置方式可查看文档 报警方式配置。
类型: 指定报警条件,有4种方式: 越上限报警(>)、越下限报警(<)、开启报警(=)、关闭报警(=),代表 数据点的数据 与 阈值 相比的方式,如果设置为 越上限报警(>),则 当出现数据点的数据 大于 阈值 时,就符合这一项报警条件。
阈值: 数据点的数据相比较的值。
时段(起始)、时段(终止): 指定报警的时间段,在该时间段以外的时间不触发报警。可不填,不填代表不限制。
持续时间: 表示达到其他报警条件,并且持续了设置的时间后,才会报警,单位:秒。
删除数据点
点击数据点后面的 【 x 】 按钮,即可删除数据点。
调整点顺序
点击数据点的第一列序号,可以调整数据点的顺序。

修改完成后点击右上角 【提交】 按钮,提交修改。
删除设备
点击页面右上角的 【删除】 按钮,确定即可删除当前设备。

批量修改点信息
所有可编辑的单元格,都可以通过点击、拖动,来选择同列的多个单元格,点击表头可以选中该列所有单元格。
在选中的单元格种点击鼠标右键,会弹出菜单,菜单有五个选项: 批量修改、文字替换、添加报警、移动点、批量删除。
批量修改: 对所有选中的单元格进行修改,点击后会弹出修改窗口,窗口有4个标签: 相同值、递增、递减、原值相加。

相同值: 可以把所有的单元格的值改为同一个值。

递增、递减: 可以根据输入的 前缀字符、起始值、步长,来修改选中的单元格。例如: 前缀字符为 变量,起始值为 1,步长为 1,则单元格会被修改为 变量1、变量2、变量3……

原值相加: 可以将当前单元格的数字统一加上一个数字,只适用内容为纯数字的单元格。这里是把选中的单元格全部加5处理了。

文字替换: 可以将选中的单元格中的特定文字,全部替换成其他文字。匹配字符是需要修改的文字,替换文字是要改成的文字。

例如: 把所有的 “变量” 改为 “Point” :

添加报警: 可以为所有选中的单元格所在的 数据点,批量添加报警。

移动点: 可以将所有选中的单元格所在的 数据点,移动到其他标签页下。

不同标签页的点的属性不同,移动点时,可能会出现属性不匹配的情况。目标标签页没有的旧属性,会被丢弃,目标标签页新增的属性,会使用属性默认值,需要确认一下点的属性值。
批量删除: 可以将选中的单元格所在的 数据点 或 报警 批量删除。
搜索
点表表头的左上角有一个 【搜索图标】 按钮(快捷键: 【Ctrl + F】),点击后会弹出一个搜索框,输入想要搜索的内容,系统会对当前表的内容进行筛选,只显示包含输入内容的点。
搜索状态下不能调整点顺序。
CSV导入导出
在表格的右上角有一个 【图标】 按钮,鼠标放上去会弹出菜单,有两个选项: 导出CSV 和 导入CSV。
点击 【导出CSV】 按钮,可以将当前表格导出成一个 CSV文件,文件名默认为: [应用层协议名称]_[标签名称].wk.csv。
可以使用应用程序编辑导出的CSV文件。
第一行是 应用层协议ID。
第二行是 标签名称 和 标签ID。
第三行、第四行是 空行。
第五行、第六行 描述表格的三个部分。第五行是各个部分的ID: IO、DB、Alert;第六行是各个部分的文字描述: 基本信息、数据存储、报警配置。
第七行、第八行、第九行 描述数据点的各个参数。第七行为参数的ID;第八行是为下拉菜单类型的属性准备的,用来描述 选项值 和 选项显示值 的对应关系,比如数据存储的数据类型属性,有三个选项 整型、浮点型、字符串,他们的实际值是 0、1、2,在下面修改属性值时,如果要设置为 字符串 类型,要设置他对应的实际选项值,即 2;第九行是各个参数的文字描述。
第一行到第九行不要修改。
第十行及以下行全部是数据点的属性,这部分可以修改。普通属性直接输入想要设置的值即可,这里说一些特殊输入类型的属性的修改方法:
勾选属性,输入 TRUE 表示勾选、FALSE 表示不勾选,不区分大小写。
下拉菜单属性,不能直接输入页面上展示的值,需要根据第八行的提示,找到该值对应的实际选项值,输入实际选项值。
报警配置的报警方式属性,输入报警方式的名称即可,多个名称之间用 英文逗号分隔。
想要添加数据点添加一行填写属性即可。
如果要为数据点添加多个报警,需要在该数据点的下面添加几行,然后只填写报警属性即可。
修改完成后保存,保存文件格式必须为 “CSV UTF-8 (逗号分隔)” 。
点击页面上的 【导入CSV】 按钮,会弹出一个窗口,选择修改后的CSV文件,点击窗口 【导入】 按钮,系统会把当前标签下的所有点删除,然后导入CSV文件中配置的点信息。
另外直接把CSV文件拖到页面中,也可以导入CSV文件配置。
创建模板
创建模板可以把当前设备的配置保存下来,后续需要创建同样的设备时,可以直接使用模板创建,可以减少很多不必要的操作。
页面右上角的两个按钮 【存为模板】 和 【导出模板】 用于创建模板。
存为模板: 点击后会弹出窗口,填写模板的 类型 和 名称,点击确定,系统会获取当前设备的配置,并将配置保存到系统后台。

导出模板: 点击后系统会生成模板文件,并下载到本地,以便在其他设备上使用。文件名默认为 [设备所在通道的通道名]_[设备所在链接的链接名]_[设备名].wk.template。
因为不同的应用层协议的配置项时不同的,所以如果模板使用在其他的应用层协议上可能出现配置项。
获取点表
获取点表仅部分协议支持(例如: 微控云 - 主站),支持的协议可以直接与从站设备通讯,获取点表,自动创建数据点。
如果使用的协议支持该功能,在 基本信息 标签下会出现 【获取点表】 按钮。
Modbus 协议目前不支持获取点表功能,这里以 微控云 - 主站 为例。
点击 【获取点表】 按钮,会弹出确认获取窗口,确定后,系统会与从站设备通讯,获取点表,删除当前设备下的所有数据点,重新创建点。
查看数据
如果修改了当前设备,在查看数据前,一般情况需要把系统重启一下,让后台程序重新加载新的配置,并按照配置运行。
点击页面右上角的 【查看数据】 按钮,就会进入查看数据的模式,这种状态不能对设备进行编辑,可以点击右上角 【配置参数】 按钮,切换回配置模式。
查看数据模式下,表格会多出三列,分别为: 值、源、时间,用来查看数据点的数据信息。
值出现蓝色背景色时,表示该值最近3秒发生了变化。
点击数据会弹出该数据点的详细信息窗口。

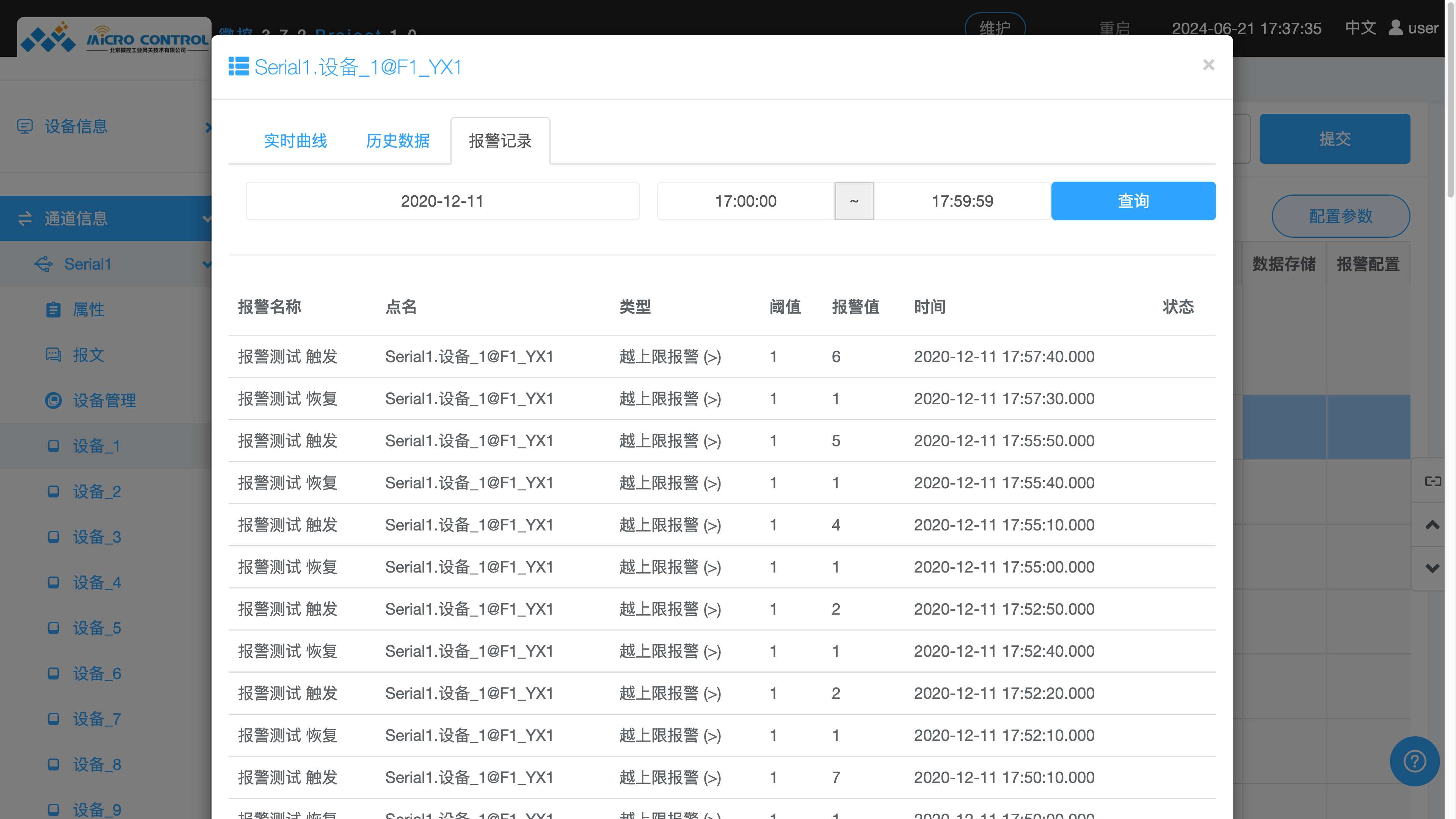
窗口可能有 实时曲线、控制、分步控制、历史数据、报警记录 几个标签。
实时曲线: 如果当前数据点是采集数据点就会有 实时曲线 标签,该标签下可以查看该数据点的数据随时间变化的曲线。
控制: 如果当前数据点是控制数据点就会有 控制 标签,该标签下可以对数据点进行控制,修改数据点的数据。

历史数据: 如果当前数据点配置了数据存储就会有 历史数据 标签,该标签下可以查询该数据点在某时间段的数据,数据以曲线图和表格形式展示。

报警记录: 如果当前数据点配置了报警就会有 报警记录 标签,该标签下可以查询该数据点在某时间段的报警数据,数据以表格形式展示。
